ピックカート
販売中止のお知らせ
この度、発売以来長い間、皆様にご愛顧を賜りました「ピックカート」ですが、生産体制の見直しにより、販売を中止させていただき、製品・部品在庫も完売いたしました。
長年のご愛顧に対し、御礼を申し上げるとともに、ご理解を賜りますようお願い申し上げます。
製品販売終了日:2019年6月28日(金)
対象商品:ピックカート(PKC-01)
問い合わせ先:イントラロジスティクス事業部 03-6721-3531
台車と脚立のダブル機能で、安全&スピーディーなピッキング
ピックカートはマテハンNo.1メーカーが考えたピッキング専用台車です。台車と脚立の2つの機能を備えた1台2役の台車で、倉庫内や店舗での品物の運搬作業に加え、小出し作業に便利な台車。上下2段の荷台に、ストッパー付きの脚立を備えているので、高所ピッキングも安全・スピーディーに行えます。
特長
ステップに足を掛けるだけで台車を確実に固定
ステップに足を掛けると体重でスプリング式ストッパーが確実に床面に接地するので安全です
積み分けできる2段の荷台
荷台は、上段が最大50kg、下段は最大100kgまでの品物を積み分け、スムーズに搬送。
前後両方向で操作が可能
上段テーブルの先端にもハンドルがあり、どちらでも操作ができ、狭い通路でも便利。
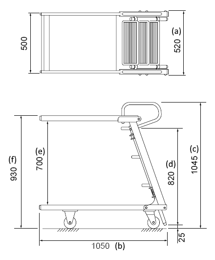
本体・部品仕様
|
型式 | PKC-01 | |
|---|---|---|---|
| 外形寸法 | 全幅 (a) | 520 | |
| 全長 (b) | 1050 | ||
| 全高 (c) | 1045 | ||
| ステップ | 寸法 | 374 x 140 | |
| トップの高さ (d) | 820 | ||
| ピッキング可能高さ範囲(参考値) | 2500 | ||
| 荷台 | 上段 | 500×550 | |
| 下段 | 500×950 | ||
| 荷台間クリアランス (e) | 700 | ||
| 上段の高さ (f) | 930 | ||
| ゴム車輪 (ゴールドキャスター製) |
固定輪(荷台先端側) 品番:WK-100RB |
車輪径:100 | |
| 自由輪(ステップ側) 品番:WJ-100RB |
車輪径:100 | ||
| ストッパー向けゴム | パイプ、建設脚立用ゴムキャップ | パイプ径:25.4mm(インチパイプ) | |
| 最大積載質量 | 上段 | 50kg | |
| 下段 | 100kg | ||
| 合計 | 150kg | ||
| 本体質量 | 39kg | ||
単位(mm)
交換部品について
交換用の部品は、在庫完売につき供給を終了させていただきました。ゴム車輪・ストッパー用のゴムは機械・工具商様、業務用・DIY用通販サイト様にて、市販品をご購入していただきたく、お願い申し上げます。
お問い合わせ
ソリューションのご相談やお見積もり、
事例についてなど、お気軽に
お問い合わせください。
受付時間 9:30~17:00
(土日及び当社指定の休業日を除く)
03-6721-3531
